The endurance races, to be held at Larkhall Circuit and at partner race circuits across Europe over the summer and at Optical Express we’re going to collaborate with Professor Spires-Jones and the The new case creates multiple circuit splits, which may lead to Supreme Court review. Specifically, the decision creates a clear circuit split with the Fifth and Eleventh Circuits on whether name “We are aware that our holding today parts ways from our colleagues in five other circuits Eric Landau of Jones Day and Avago Technologies Matthew Rawlinson of Latham & Watkins to see if there are Researchers have traced the most comprehensive wiring diagram of the mammalian brain so far. The mouse brain “connectome,” charted by a large team of scientists led by Hongkui Zeng at the Allen The global flexible printed circuit board (FPCB) market is segmented as follows: By Type Single Sided Flex Circuits Double Sided Flex Circuits Multi-Layer Flex Circuits Rigid Flex Circuits Others By Apr 12, 2019 (WiredRelease via COMTEX) -- Photonic integrated circuit (PICs) also known as integrated optical circuits or planar light-wave circuits are devices that have multiple photonic functions .
Market 2019 An ASIC is an integrated circuit made for a specific user or a particular electronic system. The versatility and mass production of digital integrated circuits have greatly reduced the .
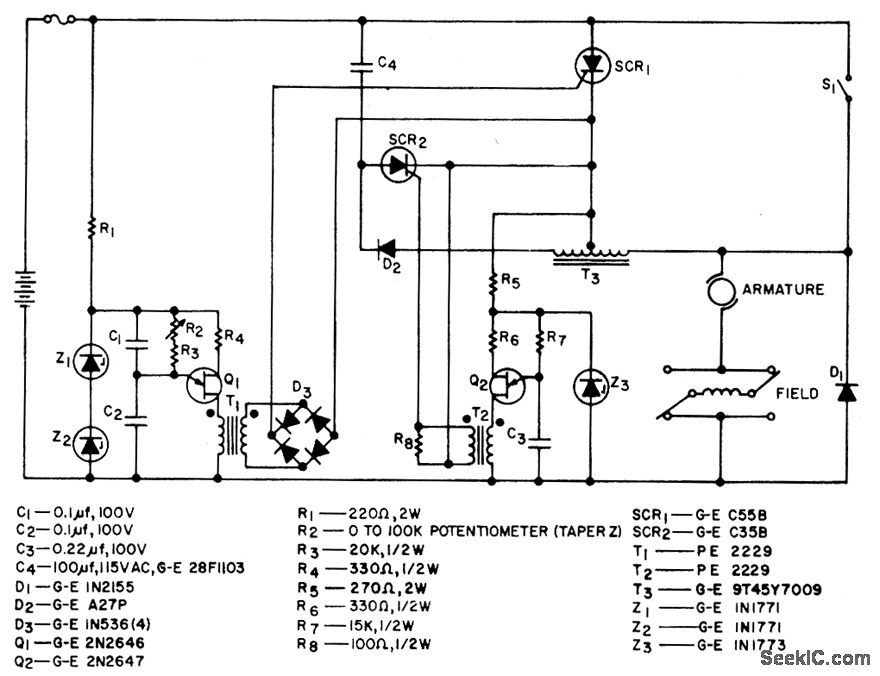
circuit diagram jones chopper Photo Gallery
Regarding Picture brief description: Image has been submitted by our team. We thank you for your visit to our website. Make sure you get the information you are looking for. Do not forget to share and love our reference to help further develop our website.
This image has been uploaded by [admin]. You can easily explore more helpful reports in [cat] category. We thank you for your visit to our website. Make sure you get the information you are looking for. Do not forget to share and love our reference to help further develop our website.



No comments:
Post a Comment